REMOVAL

NOTE: The hood support cylinders can be replaced one at a time.
CAUTION: Do not pull on the hood support cylinders at the middle of the support cylinder during removal. Failure to follow this caution can result in damage to the hood support cylinders.

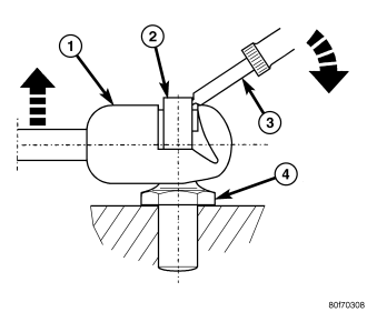
NOTE: Lift the clips (1) only enough to release the ball studs (3).
