P0882-TCM POWER INPUT LOW





For a complete wiring diagram Refer to Section 8W

Theory of Operation


The transmission control relay is used to supply power to the solenoids and pressure switches when the transmission is in normal operating mode. The relay output is fed back to the TCM through pins 16, 17, and 36. It is referred to as "Transmission Control Relay Output". This circuit does not supply power to the TCM, it is only a sense circuit. When the relay is off, no power is supplied to the solenoids and pressure switches, and the transmission is in "limp-in" or "default" mode. Note: Inadequate Transmission Control Relay Output voltage can also cause DTCs P0846, P0869, P0871, P0876 or P0988 to set. This does not indicate an internal transmission or solenoid/TRS problem. Repairing the P0888 fault should also eliminate the related DTCs.


  • When Monitored:

    When the ignition is turned from "OFF" position to "RUN" position and/or the ignition is turned from "START" position to "RUN" position.

  • Set Condition:

    This DTC is set when less than 3.0 volts are present at the transmission control relay output circuits at the Powertrain Control Module when the PCM is energizing the relay.


Possible Causes
 
(A104) FUSED B(+) CIRCUIT OPEN
 
(T16) TRANSMISSION CONTROL RELAY OUTPUT CIRCUIT OPEN
 
(T16) TRANSMISSION CONTROL RELAY OUTPUT CIRCUIT SHORT TO GROUND
 
(T15) TRANSMISSION CONTROL RELAY CONTROL CIRCUIT OPEN
 
(T15) TRANSMISSION CONTROL RELAY CONTROL CIRCUIT SHORT TO GROUND
 
(Z915) TRANSMISSION CONTROL RELAY GROUND CIRCUIT OPEN
 
TRANSMISSION CONTROL RELAY STUCK OPEN
 
POWERTRAIN CONTROL MODULE
 


Always perform the 45RFE/545RFE Pre-Diagnostic Troubleshooting Procedure before proceeding. (Refer to 21 - TRANSMISSION/TRANSAXLE/AUTOMATIC - 45RFE/545RFE - STANDARD PROCEDURE)



Diagnostic Test

1.CHECK TO SEE IF DTC P0882 IS CURRENT


NOTE: This counter only applies to the last DTC set.



Is the STARTS SINCE SET counter equal to 0?

Yes
  • Go To 2


No
  • Go To 9

2.CHECK THE (A104) FUSED B(+) CIRCUIT FOR AN OPEN





NOTE: Check connectors - Clean/repair as necessary.




NOTE: The test light must illuminate brightly. Compare the brightness to that of a direct connection to the battery.



Does the test light illuminate brightly?

Yes
  • Go To 3


No

3.CHECK THE (Z915) TRANSMISSION CONTROL RELAY GROUND CIRCUIT FOR AN OPEN






Does the test light illuminate brightly?

Yes
  • Go To 4


No

4.CHECK THE TRANSMISSION CONTROL RELAY






Did the DTC P0882 reset?

Yes
  • Go To 5


No

5.CHECK THE (T16) TRANSMISSION CONTROL RELAY OUTPUT CIRCUIT FOR AN OPEN






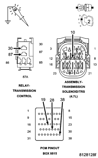
CAUTION: Do not probe the PCM harness connectors. Probing the PCM harness connectors will damage the PCM terminals resulting in poor terminal to pin connection. Install Miller tool #8815 to perform diagnosis.






Does the test light illuminate brightly on all four (T16) Transmission Control Relay Output circuits?

Yes
  • Go To 6


No

6.CHECK THE (T16) TRANSMISSION RELAY OUTPUT CIRCUIT FOR A SHORT TO GROUND






Is the resistance below 5.0 ohms?

Yes


No
  • Go To 7

7.CHECK THE (T15) TRANSMISSION CONTROL RELAY CONTROL CIRCUIT FOR A SHORT TO GROUND





Is the resistance below 5.0 ohms?

Yes


No
  • Go To 8

8.CHECK THE (T15) TRANSMISSION CONTROL RELAY CONTROL CIRCUIT FOR AN OPEN





Is the resistance above 5.0 ohms?

Yes


No
  • Using the schematics as a guide, check the Powertrain Control Module (PCM) terminals for corrosion, damage, or terminal push out. Pay particular attention to all power and ground circuits. If no problems are found, replace and program the PCM per the Service Information. With the scan tool, perform QUICK LEARN.
  • Perform 45RFE/545RFE TRANSMISSION VERIFICATION TEST. (Refer to 21 - TRANSMISSION/TRANSAXLE/AUTOMATIC - 45RFE/545RFE - STANDARD PROCEDURE)

9.CHECK WIRING AND CONNECTORS






Where there any problems found?

Yes


No
  • Test Complete.