P0579-SPEED CONTROL SWITCH 1 PERFORMANCE





For a complete wiring diagram Refer to Section 8W.


  • When Monitored:

    With the ignition key on.

  • Set Condition:

    Cruise switch voltage output is not out of range but it does not equal any of the values for any of the button positions. One trip fault.


Possible Causes
 
(V371) S/C SWITCH NO.1 SIGNAL CIRCUIT SHORTED TO BATTERY VOLTAGE
 
(V71) S/C SWITCH NO.1 SIGNAL CIRCUIT SHORTED TO BATTERY VOLTAGE
 
(V371) S/C SWITCH NO.1 SIGNAL CIRCUIT OPEN
 
(V71) S/C SWITCH NO.1 SIGNAL CIRCUIT OPEN
 
(V397) SWITCH RETURN CIRCUIT OPEN
 
(V937) SWITCH RETURN CIRCUIT OPEN
 
(V371) S/C SWITCH NO.1 SIGNAL CIRCUIT SHORTED TO GROUND
 
(V71) S/C SWITCH NO.1 SIGNAL CIRCUIT SHORTED TO GROUND
 
(V371) S/C SWITCH NO.1 SIGNAL CIRCUIT SHORTED TO THE (V397) SWITCH RETURN CIRCUIT
 
(V71) S/C SWITCH NO.1 SIGNAL CIRCUIT SHORTED TO THE (V937) SWITCH RETURN CIRCUIT
 
STEERING COLUMN CONTROL MODULE
 
SPEED CONTROL SWITCH
 
PCM
 


Always perform the Pre-Diagnostic Troubleshooting procedure before proceeding. (Refer to 9 - ENGINE - DIAGNOSIS AND TESTING).



Diagnostic Test

1.SPEED CONTROL SWITCH STATUS











Does each switch function change status when pressing and then depressing each switch?

Yes


No
  • Go To 2

2.SPEED CONTROL SWITCH













Does the function on the Speed Control Switches have the correct resistance value?

Yes
  • Go To 3


No

3.(V371) S/C SWITCH NO.1 SIGNAL CIRCUIT SHORTED TO BATTERY VOLTAGE








Is the voltage above 0 volts?

Yes


No
  • Go To 4

4.(V71) S/C SWITCH NO.1 SIGNAL CIRCUIT SHORTED TO BATTERY VOLTAGE







Is the voltage above 0 volts?

Yes


No
  • Go To 5

5.STEERING COLUMN CONTROL MODULE





Is the resistance above 5.0 ohms for either reading?

Yes


No
  • Go To 6

6.(V371) S/C SWITCH NO.1 SIGNAL CIRCUIT OPEN


NOTE: The measurement must be taken from both Speed Control Switch harness connectors.




Is the resistance below 5.0 ohms for each measurement?

Yes
  • Go To 7


No

7.(V71) S/C SWITCH NO.1 SIGNAL CIRCUIT OPEN


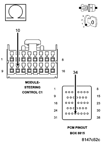
CAUTION: Do not probe the PCM harness connectors. Probing the PCM harness connectors will damage the PCM terminals resulting in poor terminal to pin connection. Install Miller Special Tool #8815 to perform diagnosis.




Is the resistance below 5.0 ohms for both measurements?

Yes
  • Go To 8


No

8.(V397) SWITCH RETURN CIRCUIT OPEN


NOTE: The measurement must be taken from both Speed Control Switch harness connectors.




Is the resistance below 5.0 ohms for each measurement?

Yes
  • Go To 9


No

9.(V937) SWITCH RETURN CIRCUIT OPEN





Is the resistance below 5.0 ohms for both measurements?

Yes


No

10.(V71) S/C NO.1 SWITCH SIGNAL CIRCUIT SHORTED TO GROUND





Is the resistance below 100 ohms?

Yes


No

11.(V371) S/C NO.1 SWITCH SIGNAL CIRCUIT SHORTED TO GROUND





Is the resistance below 100 ohms?

Yes


No

12.(V371) S/C SWITCH NO.1 SIGNAL CIRCUIT SHORTED TO THE (V397) S/C SWITCH RETURN CIRCUIT





Is the resistance below 5.0 ohms?

Yes


No

13.(V71) S/C SWITCH NO.1 SIGNAL CIRCUIT SHORTED TO THE (V937) S/C SWITCH RETURN CIRCUIT





Is the resistance below 5.0 ohms?

Yes


No

14.SPEED CONTROL SWITCH VOLTAGE VALUES




SWITCH POSITION
 
SWITCH No.1 VOLTAGE VALUE
 
SWITCH No.2 VOLTAGE VALUE
 
NO SWITCHES PRESSED
 
4.31 to 4.78 volts
 
4.31 to 4.78 volts
 
ON/OFF PRESSED
 
0.59 to 1.13 volts
 
3.53 to 3.92 volts
 
RES/ACCEL PRESSED
 
3.88 to 4.17 volts
 
2.04 to 2.47 volts
 
SET PRESSED
 
3.16 to 3.56 volts
 
1.17 to 1.56 volts
 
COAST PRESSED
 
2.57 to 2.94 volts
 
0.77 to 1.09 volts
 
CANCEL PRESSED
 
1.59 to 1.99 volts
 
2.84 to 3.25 volts
 





Are the voltage readings out of the listed specification and is there less than a 0.2 of a volt difference between the voltmeter switch values and the scan tool switch value?

Yes


No

15.PCM

NOTE: Before continuing, check the PCM harness connector terminals for corrosion, damage, or terminal push out. Repair as necessary.




Were there any problems found?

Yes


No