B2105-IGNITION UNLOCK RUN/START CONTROL CIRCUIT HIGH





For a complete wiring diagram Refer to Section 8W.


  • When Monitored:

    With the ignition on or off and with the FCM awake.

  • Set Condition:

    The Front Control Module will set this DTC within 2 seconds if the ignition unlock run/start circuit voltage is not what the expected value should be.


Possible Causes
 
(F1) FUSED IGNITION SWITCH OUTPUT (RUN START) CIRCUIT OPEN
 
(F1) FUSED IGNITION SWITCH OUTPUT (RUN START) CIRCUIT SHORTED TO VOLTAGE
 
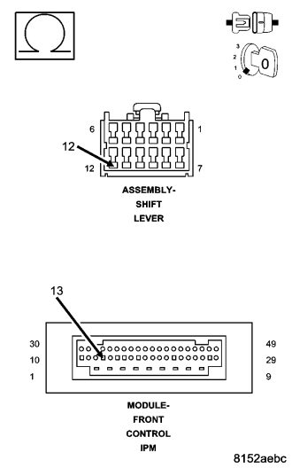
SHIFTER LEVER ASSEMBLY (3.7L ONLY)
 
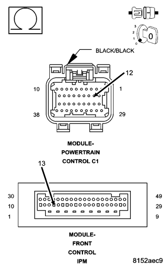
POWERTRAIN CONTROL MODULE (EXCEPT 3.7L)
 
FRONT CONTROL MODULE
 


Theory of Operation


The (F942) Fused Ignition Switch Output circuit supplies the FCM with battery power. The FCM processes the input and sends it out as the (F1) Fused Ignition Switch Output circuit to the Shift Lever assembly (3.7L) or the PCM (except 3.7L).



Diagnostic Test

1.CHECK FOR ACTIVE DTC





Does the scan tool display this DTC as active?

Yes
  • Go To 2


No
  • If the DTC is stored, check for an intermittent condition. Using the wiring diagram/schematic as a guide, visually inspect the related wiring harness connectors. Look for broken, bent, pushed out, or corroded terminals.

2.DETERMINE ENGINE SIZE


Is this vehicle equipped with a 3.7L engine?

Yes
  • Go To 3


No
  • Go To 6

3.(F1) FUSED IGNITION SWITCH OUTPUT (RUN START) CIRCUIT SHORTED TO VOLTAGE





NOTE: The ignition switch must be in the off position when performing the following step.




Does the test light illuminate brightly?

Yes


No
  • Go To 4

4.SHIFT LEVER ASSEMBLY






Does the test light illuminate brightly?

Yes


No
  • Go To 5

5.(F1) FUSED IGNITION SWITCH OUTPUT (RUN START) CIRCUIT OPEN







Is the resistance below 5.0 ohms?

Yes


No

6.(F1) FUSED IGNITION SWITCH OUTPUT (RUN START) CIRCUIT SHORTED TO VOLTAGE




CAUTION: Do not probe the PCM harness connectors. Probing the PCM harness connectors will damage the PCM terminals resulting in poor terminal to pin connection. Install Miller Special Tool #8815 to perform diagnosis.



NOTE: The ignition switch must be in the off position when performing the following step.




Does the test light illuminate brightly?

Yes


No
  • Go To 7

7.POWERTRAIN CONTROL MODULE





CAUTION: Do not probe the PCM harness connectors. Probing the PCM harness connectors will damage the PCM terminals resulting in poor terminal to pin connection. Install Miller Special Tool #8815 to perform diagnosis.



Does the test light illuminate brightly?

Yes


No
  • Go To 8

8.(F1) FUSED IGNITION SWITCH OUTPUT (RUN START) CIRCUIT OPEN





CAUTION: Do not probe the PCM harness connectors. Probing the PCM harness connectors will damage the PCM terminals resulting in poor terminal to pin connection. Install Miller Special Tool #8815 to perform diagnosis.




Is the resistance below 5.0 ohms?

Yes


No