*NO RESPONSE FROM FCM (FRONT CONTROL MODULE)





For a complete wiring diagram Refer to Section 8W.



Possible Causes
 
(A108) FUSED B(+) CIRCUIT OPEN AT DLC
 
(Z11) (Z111) GROUND CIRCUIT OPEN AT DLC
 
GROUND CIRCUITS OPEN AT FCM
 
FUSED B(+) CIRCUITS OPEN AT FCM
 
FRONT CONTROL MODULE
 




Diagnostic Test

1.TEST FOR INTERMITTENT CONDITION


NOTE: Ensure the IOD fuse is installed and battery voltage is between 10.0 and 16.0 volts.


NOTE: Ensure the scan tool is updated to the latest software.


NOTE: If the scan tool displays any error messages involving the CAN C Diagnostic circuits, diagnose and repair the error message before proceeding. Refer to the Table of Contents.


NOTE: A loss of communication with the FCM can cause the ECU View button on the scan tool to be inoperative (not highlighted).




Can the scan tool communicate with the FCM?

Yes
  • The no response condition is not present at this time. Using the wiring diagram/schematic as a guide, inspect the wiring for chafed, pierced, pinched, and partially broken wires and the wiring harness connectors for broken, bent, pushed out, and corroded terminals.


No
  • Go To 2

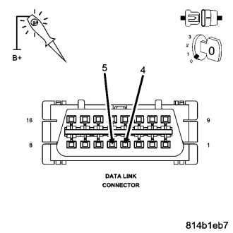
2.(A108) FUSED B(+) CIRCUIT OPEN AT DLC







Does the test light illuminate brightly?

Yes
  • Go To 3


No

3.(Z11) (Z111) GROUND CIRCUIT OPEN AT DLC





Does the test light illuminate brightly for each circuit?

Yes
  • Go To 4


No

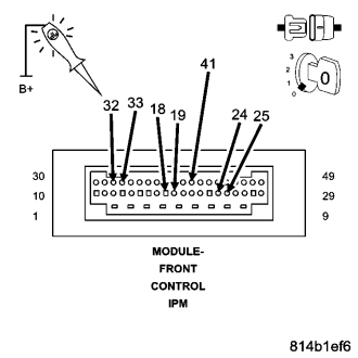
4.GROUND CIRCUITS OPEN AT FCM C1 CONNECTOR






Does the test light illuminate brightly for each circuit?

Yes
  • Go To 5


No

5.GROUND CIRCUITS OPEN AT FCM IPM CONNECTOR






Does the test light illuminate brightly for each circuit?

Yes
  • Go To 6


No

6.FUSED B(+) CIRCUITS OPEN AT FCM IPM CONNECTOR





Does the test light illuminate brightly for each circuit?

Yes


No