STANDARD PROCEDURE - QUICK-CONNECT FITTINGS
Different types of quick-connect fittings are used to attach the various fuel system components, lines and tubes. These are: a single-button type, a two-button type, a pinch type, a single-tab type, a two-tab type or a plastic retainer ring type. Some are equipped with safety latch clips. Some may require the use of a special tool for disconnection and removal.
DISCONNECTING
WARNING: The fuel system is under a constant pressure (even with engine off). Before servicing any fuel system hose, fitting or line, fuel system pressure must be released. Refer to fuel system pressure release procedure.
CAUTION: Before separating a quick-connect fitting, pay attention to what type of fitting is being used by referring to Quick-Connect Fitting Removal. This will prevent unnecessary fitting or fitting latch breakage.
CAUTION: The interior components (o-rings, clips) of quick-connect fittings are not serviced separately, but new plastic spacers and latches are available for some types. If service parts are not available, do not attempt to repair the damaged fitting or fuel line (tube). If repair is necessary, replace the complete fuel line (tube) assembly.
(Refer to 14 - FUEL SYSTEM/FUEL DELIVERY - STANDARD PROCEDURE)

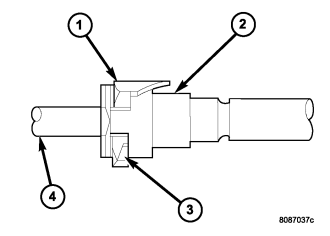
Single-Button Type Fitting:

DO NOT ATTEMPT TO PRY OR PULL UP ON PUSH-BUTTON. LATCHES WILL BE BROKEN.

(Refer to 14 - FUEL SYSTEM/FUEL DELIVERY - STANDARD PROCEDURE)
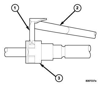
2-Button Type Fitting:

Pinch-Type Fitting:

Single-Tab Type Fitting:

If release tab is not pressed prior to releasing pull tab, pull tab will be damaged.

Two-Tab Type Fitting:

Plastic Retainer Ring Type Fitting:
The plastic retainer ring must be pressed squarely into fitting body. If this retainer is cocked during removal, it may be difficult to disconnect fitting. Use an open-end wrench on shoulder of plastic retainer ring to aid in disconnection.

Latch Clips - Type 1:


Latch Clips - Type 2:

CONNECTING
If latch clip will not fit, this indicates fuel line is not properly installed to fuel rail (or other fuel line). Recheck fuel line connection.