B1B06-DRIVER AIRBAG SQUIB 2 CIRCUIT OPEN





For a complete wiring diagram Refer to Section 8W.


  • When Monitored:

    With the ignition on.

  • Set Condition:

    The Occupant Restraint Controller (ORC) monitors the resistance of the Driver Squib 2 circuits. The ORC will set this DTC if it detects an open or high resistance on the Driver Squib 2 circuits.


Possible Causes
 
(R63) DRIVER SQUIB 2 LINE 1 CIRCUIT OPEN
 
(R61) DRIVER SQUIB 2 LINE 2 CIRCUIT OPEN
 
STEERING CONTROL MODULE
 
DRIVER AIRBAG
 
OCCUPANT RESTRAINT CONTROLLER (ORC)
 




Diagnostic Test

1.DETERMINE ACTIVE OR STORED DTC

NOTE: Ensure that the battery is fully charged.

NOTE: The scan tool, SRS Airbag Load Tool MRL 8443, and DVOM are required to perform the following test.




Select ACTIVE or STORED DTC:

ACTIVE DTC
  • Go To 2


STORED DTC
  • Go To 6

2.CHECK FOR OPEN SQUIB CIRCUITS IN DRIVER AIRBAG


WARNING: To avoid personal injury or death, turn the ignition off, disconnect the battery and wait two minutes before proceeding.



WARNING: To avoid personal injury or death, do not place an intact undeployed airbag face down on a hard surface, the airbag will propel into the air if accidentally deployed.


NOTE: Check connectors - Clean and repair as necessary.



WARNING: To avoid personal injury or death, turn the ignition on, then reconnect the battery.




Does the scan tool display: B1B06-DRIVER AIRBAG SQUIB 2 CIRCUIT OPEN?

Yes
  • Go To 3


No
  • Replace the Driver Airbag in accordance with the Service Information.
  • Perform *AIRBAG SYSTEM VERIFICATION TEST - VER 1.

3.CHECK STEERING CONTROL MODULE (CLOCKSPRING) SQUIB CIRCUITS FOR AN OPEN


WARNING: To avoid personal injury or death, turn the ignition off, disconnect the battery and wait two minutes before proceeding.




NOTE: Check connectors - Clean and repair as necessary.



WARNING: To avoid personal injury or death, turn the ignition on, then reconnect the battery.




Does the scan tool display: B1B06-DRIVER AIRBAG SQUIB 2 CIRCUIT OPEN?

Yes
  • Go To 4


No
  • Replace the Steering Control Module in accordance with the Service Information.
  • Perform *AIRBAG SYSTEM VERIFICATION TEST - VER 1.

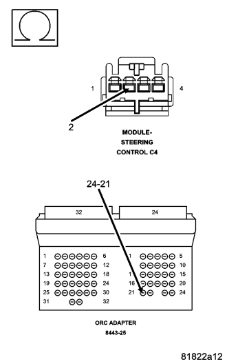
4.CHECK (R63) DRIVER SQUIB 2 LINE 1 CIRCUIT FOR AN OPEN


WARNING: To avoid personal injury or death, turn the ignition off, disconnect the battery and wait two minutes before proceeding.




NOTE: Check connectors - Clean and repair as necessary.





Is the resistance below 1.0 ohm?

Yes
  • Go To 5


No
  • Repair the (R63) Driver Squib 2 Line 1 circuit for an open.
  • Perform *AIRBAG SYSTEM VERIFICATION TEST - VER 1.

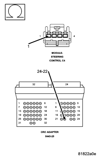
5.CHECK (R61) DRIVER SQUIB 2 LINE 2 CIRCUIT FOR AN OPEN





Is the resistance below 1.0 ohm?

Yes
  • WARNING: If the Occupant Restraint Controller (ORC) is dropped at any time, it must be replaced. Failure to take the proper precautions can result in accidental airbag deployment and personal injury or death.

    WARNING: To avoid personal injury or death, turn the ignition off, disconnect the battery and wait two minutes before proceeding.

  • Replace the ORC in accordance with Service Information.
  • Perform *AIRBAG SYSTEM VERIFICATION TEST - VER 1.


No
  • Repair the (R61) Driver Squib 2 Line 2 circuit for an open.
  • Perform *AIRBAG SYSTEM VERIFICATION TEST - VER 1.

6.CHECKING STORED OR INTERMITTENT CODES

NOTE: Diagnose and repair all active codes before diagnosing stored codes. Refer to the Table of Contents in this Section for a complete list of airbag system diagnostic procedures.



WARNING: To avoid personal injury or death, turn the ignition off, disconnect the battery and wait two minutes before proceeding.




WARNING: To avoid personal injury or death, turn the ignition on, then reconnect the battery.


  • Wiggle the wiring harness and connectors of the related airbag circuit.
  • Continue the test until either a code becomes active or the problem area is isolated.



Are any ACTIVE DTCs present?

Yes
  • Select the appropriate diagnostic procedure from the Table of Contents in this section.


No
  • No problem found at this time. Erase all codes before returning the vehicle to the customer.