P2112-ELECTRONIC THROTTLE CONTROL - UNABLE TO OPEN





For a complete wiring diagram Refer to Section 8W.


  • When Monitored:

    Ignition on and battery voltage greater than 10 volts.

  • Set Condition:

    Just after key on, the throttle is opened and closed to test the system. If the PCM detects that the TP Sensor does not move from Limp Home Position, this DTC will set. One trip fault. The DTC will set within 5 seconds. ETC light is flashing.


Possible Causes
 
INTERMITTENT DTC
 
THROTTLE PLATE STICKING OR OBSTRUCTED
 
TP SENSOR CIRCUIT(S) HIGH RESISTANCE OR SHORTED
 
(K124) ETC MOTOR (+) CIRCUIT SHORTED TO VOLTAGE
 
(K126) ETC MOTOR (-) CIRCUIT SHORTED TO VOLTAGE
 
(K124) ETC MOTOR (+) CIRCUIT SHORTED TO THE (K126) ETC MOTOR (-) CIRCUIT
 
(K124) ETC MOTOR (+) CIRCUIT OPEN OR HIGH RESISTANCE
 
(K126) ETC MOTOR (-) CIRCUIT OPEN OR HIGH RESISTANCE
 
(K124) ETC MOTOR (+) CIRCUIT SHORTED TO GROUND
 
(K126) ETC MOTOR (-) CIRCUIT SHORTED TO GROUND
 
THROTTLE BODY ASSEMBLY
 
PCM
 


Always perform the Pre-Diagnostic Troubleshooting procedure before proceeding. (Refer to 9 - ENGINE - STANDARD PROCEDURE).



Diagnostic Test

1.ACTIVE DTC

NOTE: Diagnose any TP Sensor or 5 Volt Supply DTCs before continuing.




WARNING: When the engine is operating, do not stand in direct line with the fan. Do not put your hands near the pulleys, belts, or fan. Do not wear loose clothing. Failure to follow these instructions can result in personal injury or death.




Is the status Active for this DTC?

Yes
  • Go to 2


No

2.THROTTLE PLATE INSPECTION






Were any problems found?

Yes
  • Repair as necessary or replace the Throttle Body Assembly. Disconnect the battery when replacing the Throttle Body Assembly. After installation is complete, use a scan tool and select the ETC Relearn function.
  • Perform the PCM Verification Test Ver. 1 (Refer to 9 - ENGINE - STANDARD PROCEDURE).


No
  • Go to 3

3.TP SENSOR NO.1 AND TP SENSOR No. 2 BOTH EQUAL 2.5 VOLTS



Are both TP Sensor readings stuck at 2.5 volts?

Yes
  • Check the TP Sensor Signal circuits for excessive resistance, being shorted together, or being shorted to the Sensor Ground circuit.
  • Perform the PCM Verification Test Ver. 1 (Refer to 9 - ENGINE - STANDARD PROCEDURE).


No
  • Go to 4

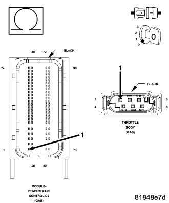
4.(K124) ETC MOTOR (+) CIRCUIT SHORTED TO VOLTAGE









Is there any voltage present?

Yes


No
  • Go to 5

5.(K126) ETC MOTOR (-) CIRCUIT SHORTED TO VOLTAGE





Is there any voltage present?

Yes


No
  • Go to 6

6.(K124) ETC MOTOR (+) CIRCUIT SHORTED TO THE (K126) ETC MOTOR (-) CIRCUIT






Is the resistance below 100 ohms?

Yes


No
  • Go to 7

7.(K124) ETC MOTOR (+) CIRCUIT SHORTED TO GROUND





Is the resistance below 100 ohms?

Yes


No
  • Go to 8

8.(K126) ETC MOTOR (-) CIRCUIT SHORTED TO GROUND





Is the resistance below 100 ohms?

Yes


No
  • Go to 9

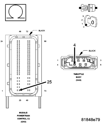
9.(K126) ETC MOTOR (-) CIRCUIT OPEN OR HIGH RESISTANCE





Is the resistance below 5.0 ohms?

Yes


No

10.(K124) ETC MOTOR (+) CIRCUIT OPEN OR HIGH RESISTANCE





Is the resistance below 5.0 ohms?

Yes


No

11.POWERTRAIN CONTROL MODULE (PCM)






Were any problems found?

Yes


No