C1008-BRAKE FLUID LEVEL CIRCUIT HIGH





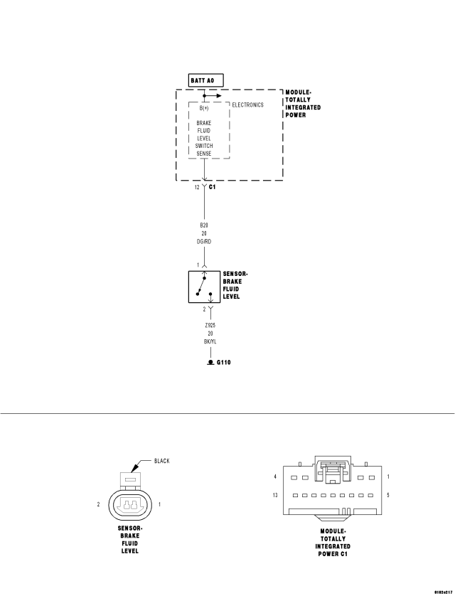
For a complete wiring diagram Refer to Section 8W.


  • When Monitored:

    With the ignition on.

  • Set Condition:

    When the Totally Integrated Power Module indicates that the Brake Fluid Level Circuit is greater than 4.9 volts for more than 5 seconds.


Possible Causes
 
(B20) BRAKE FLUID LEVEL SWITCH SIGNAL CIRCUIT OPEN
 
(B20) BRAKE FLUID LEVEL SWITCH SIGNAL CIRCUIT SHORTED TO BATTERY VOLTAGE
 
BRAKE FLUID LEVEL SWITCH INTERNAL FAILURE
 
(Z925) SENSOR GROUND CIRCUIT OPEN
 
TOTALLY INTEGRATED POWER MODULE
 




Diagnostic Test

1.BRAKE FLUID LEVEL SWITCH SIGNAL VOLTAGE ABOVE 4.9 VOLTS

NOTE: This DTC must be active for the results of this test to be valid.





Is the voltage above 4.9 volts?

Yes
  • Go To 2


No

2. (B20) BRAKE FLUID LEVEL SWITCH SIGNAL CIRCUIT FOR SHORT TO BATTERY VOLTAGE








Is the voltage above 5.2 volts?

Yes


No
  • Go To 3

3.BRAKE FLUID LEVEL SWITCH INTERNAL FAILURE








Is the voltage below 1.0 volt?

Yes


No
  • Go To4

4.








Is the resistance below 5 ohms?

Yes
  • Go To5


No

5.








Is the resistance below 5.0 ohms?

Yes


No