C1460-AWD SWITCH CIRCUIT PERFORMANCE





For a complete wiring diagram Refer to Section 8W


  • When Monitored:

    With the ignition on and no system undervoltage or overvoltage condition present.

  • Set Condition:

    The AWD Switch is not reporting a valid voltage for either switch position.


Possible Causes
 
(K77) TRANSFER CASE POSITION SENSOR INPUT CIRCUIT SHORT TO GROUND
 
(K77) TRANSFER CASE POSITION SENSOR INPUT CIRCUIT SHORT TO VOLTAGE
 
(K77) TRANSFER CASE POSITION SENSOR INPUT CIRCUIT OPEN
 
(Z940) GROUND CIRCUIT OPEN
 
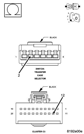
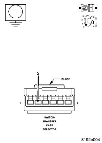
TRANSFER CASE SELECTOR SWITCH
 
ALL WHEEL DRIVE (AWD) CONTROL MODULE
 




Diagnostic Test

1.DTC IS ACTIVE


NOTE: Repair any system undervoltage or overvoltage DTCs that are set in this module before proceeding.




Is the DTC status Active at this time?

Yes
  • Go To 2


No
  • Go To 7

2.TRANSFER CASE SELECTOR SWITCH










Does the voltage display as described?

Yes


No
  • Go To 3

3.(K77) TRANSFER CASE POSITION SENSOR INPUT CIRCUIT SHORTED TO GROUND







Is the resistance less than 5.0 ohms?

Yes


No
  • Go To 4

4.(K77) TRANSFER CASE POSITION SENSOR INPUT CIRCUIT SHORTED TO VOLTAGE






Is the voltage above 10 volts?

Yes


No
5
5.(K77) TRANSFER CASE POSITION SENSOR INPUT CIRCUIT OPEN






Is the resistance greater than 5.0 ohms?

Yes


No
  • Go To 6

6.(Z940) GROUND CIRCUIT OPEN





Is the resistance above 5.0 ohms?

Yes


No

7.INTERMITTENT TRANSFER CASE RANGE SELECT SWITCH PERFORMANCE








Were any problems found?

Yes


No
  • Test complete.