P0888-TRANSMISSION RELAY ALWAYS OFF





For a complete wiring diagram Refer to Section 8W.

Theory of Operation


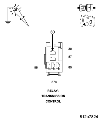
The transmission control relay is used to supply power to the solenoid pack when the transmission is in normal operating mode. When the relay is off, no power is supplied to the solenoid pack and the transmission is in Limp-in mode. The relay output is fed back to the PCM. It is referred to as the Trans Relay Output circuit or switched battery. After a controller reset (ignition key turned to the run position or after cranking engine), the controller energizes the relay. Prior to this, the PCM verifies that the contacts are open by checking for no voltage at the transmission control relay outputs (switched battery) terminals. After the relay is energized, the PCM monitors the terminals to verify that the voltage is greater than 3 volts. The MIL illuminates and the transmission will be placed in Limp-in.


  • When Monitored:

    Continuously

  • Set Condition:

    This DTC is set when the Transmission Control Relay output circuit voltage at the Powertrain Control Module is less than 3 volts when the PCM is energizing the relay. Note: Due to the integration of the Powertrain and Transmission Control Modules, the transmission part of the PCM has its own specific power and ground circuits.


Possible Causes
 
(A104) FUSED B+ CIRCUIT OPEN
 
(T16) TRANSMISSION CONTROL RELAY OUTPUT CIRCUIT OPEN
 
(T15) TRANSMISSION CONTROL RELAY CONTROL CIRCUIT OPEN
 
(Z915) TRANSMISSION CONTROL RELAY GROUND CIRCUIT OPEN
 
(T15) TRANSMISSION CONTROL RELAY CONTROL CIRCUIT SHORT TO GROUND
 
(A104) FUSED B+ CIRCUIT SHORT TO GROUND
 
(T16) TRANSMISSION CONTROL RELAY OUTPUT CIRCUIT SHORT TO GROUND
 
TRANSMISSION CONTROL RELAY
 
TRANSMISSION SOLENOID/PRESSURE SWITCH ASSEMBLY
 
POWERTRAIN CONTROL MODULE
 


Always perform the 42RLE Pre-Diagnostic Troubleshooting procedure before proceeding. (Refer to 21 - TRANSMISSION/TRANSAXLE/AUTOMATIC - 42RLE - STANDARD PROCEDURE)



Diagnostic Test

1.CHECK TO SEE IF DTC P0888 IS CURRENT



Is the status Active for this DTC or is the STARTS SINCE SET counter equal to 0?

Yes
  • Go To 2


No

2.CHECK THE (A104) FUSED B+ CIRCUIT FOR VOLTAGE





NOTE: Check connectors - Clean/repair as necessary.



NOTE: The test light must illuminate brightly. Compare the brightness to that of a direct connection to the battery.



Does the test light illuminate brightly?

Yes
  • Go To 3


No
  • Go To 9

3.(T16) TRANSMISSION CONTROL RELAY OUTPUT CIRCUIT OPEN







Is the Switched Battery voltage equal to battery voltage?

Yes
  • Go To 4


No

4.TRANSMISSION CONTROL RELAY






Is the Switched Battery voltage equal to battery voltage?

Yes


No
  • Go To 5

5.(Z915) TRANSMISSION CONTROL RELAY GROUND CIRCUIT OPEN




NOTE: The test light must illuminate brightly. Compare the brightness to that of a direct connection to the battery.



Does the test light illuminate brightly?

Yes
  • Go To 6


No

6.(T15) TRANSMISSION CONTROL RELAY CONTROL CIRCUIT OPEN





NOTE: Check connectors - Clean/repair as necessary.


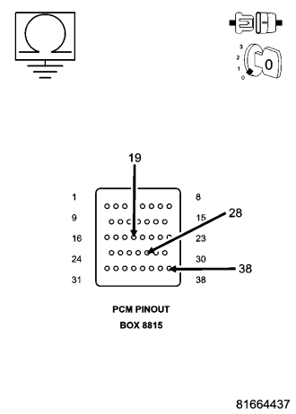
CAUTION: Do not probe the PCM harness connectors. Probing the PCM harness connectors will damage the PCM terminals resulting in poor terminal to pin connection. Install Miller Special Tool #8815 to perform diagnosis.




Is the resistance above 5.0 ohms?

Yes


No
  • Go To 7

7.(T15) TRANSMISSION CONTROL RELAY CONTROL CIRCUIT SHORT TO GROUND





Is the resistance below 5.0 ohms?

Yes


No
  • Go To 8

8.POWERTRAIN CONTROL MODULE



If there are no possible causes remaining, view repair.

Repair

9. CHECK THE FUSED B+ CIRCUIT FOR SHORT TO GROUND





NOTE: Check connectors - Clean/repair as necessary.


CAUTION: Do not probe the PCM harness connectors. Probing the PCM harness connectors will damage the PCM terminals resulting in poor terminal to pin connection. Install Miller Special Tool #8815 to perform diagnosis.




Is the resistance below 5.0 ohms?

Yes


No

10.(T16) TRANSMISSION CONTROL RELAY OUTPUT CIRCUIT SHORT TO GROUND




NOTE: Check connectors - Clean/repair as necessary.




Is the resistance below 5.0 ohms?

Yes


No

11.TRANSMISSION SOLENOID/PRESSURE SWITCH ASSEMBLY



If there are no possible causes remaining, view repair.

Repair

12.INTERMITTENT WIRING AND CONNECTORS






Were there any problems found?

Yes


No
  • Test Complete.