P0105-TURBOCHARGER INLET PRESSURE SENSOR SIGNAL VOLTAGE TOO HIGH





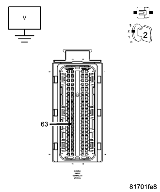
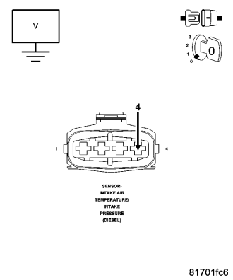
For a complete wiring diagram Refer to Section 8W


  • When Monitored:

    With the ignition on.

  • Set Condition:

    The Boost Pressure Sensor signal voltage is above 4.79 volts for 0.5 seconds.


Possible Causes
 
BOOST PRESSURE SENSOR GROUND CIRCUIT SHORTED TO VOLTAGE
 
BOOST PRESSURE SENSOR SIGNAL CIRCUIT SHORTED TO VOLTAGE
 
BOOST PRESSURE SENSOR GROUND CIRCUIT OPEN
 
BOOST PRESSURE SENSOR
 
POOR CONNECTOR TERMINAL CONTACT
 
ENGINE CONTROL MODULE (INTERNAL)
 
ENGINE CONTROL MODULE (SENSOR SIGNAL SHORTED TO VOLTAGE)
 




Diagnostic Test

1.CHECKING FOR CURRENT DTC

NOTE: If a P0234 or P0299 DTC is present with this DTC, diagnose P0234 or P0299 DTC before continuing.


NOTE: If DTC P0641, P0651 or P0697 is present with this DTC, diagnose DTCs P0641, P0651 or P0697 before diagnosing this DTC.


NOTE: If the ECM detects and stores a DTC, the ECM also stores the engine/vehicle operating conditions under which the DTC was set. Some of these conditions are displayed on the scan tool at the same time the DTC is displayed.


NOTE: Before erasing stored DTCs, record these conditions. Attempting to duplicate these conditions may assist when checking for an active DTC.


NOTE: Ensure all turbocharger inlet and outlet tubes are connected properly, without damage and restriction before continuing with this test. Also ensure the wastegate actuator and actuator rod are attached and functioning properly.







Did this DTC set again?

Yes
  • Go To2


No

2.MEASURE THE BOOST PRESSURE SENSOR SIGNAL CIRCUIT VOLTAGE








Is the voltage above 1.0 volt?

Yes
  • Go To3


No
  • Go To4

3.BOOST PRESSURE SENSOR SIGNAL CIRCUIT SHORTED TO VOLTAGE










Is the voltage above 1.0 volt?

Yes


No

4.BOOST PRESSURE SENSOR GROUND CIRCUIT SHORTED TO VOLTAGE




NOTE: If the Sensor Ground circuit had a short to voltage on it, the ECM could be damaged. Retest the Fuel Pressure Sensor circuit.



Is the voltage above 1.0 volt?

Yes
  • Repair the Boost Pressure Sensor Ground circuit for a short to voltage. The ECM will need to be checked for proper operation before the repair is completed. A short to voltage on a ground circuit can damage the ECM.
  • Perform the ECM Verification Test Ver. 1 (Refer to 9 - ENGINE - DIAGNOSIS AND TESTING).


No
  • Go To5

5.BOOST PRESSURE SENSOR GROUND CIRCUIT OPEN







Is the resistance below 10.0 ohms?

Yes
  • Go To6


No

6.BOOST PRESSURE SENSOR



NOTE: Ensure all harness connectors are connected.





Is the voltage above 4.85 volts?

Yes


No
  • Go To7

7.POOR CONNECTOR TERMINAL CONTACT




Did this DTC set again?

Yes


No