DOOR LOCK SWITCH OPEN OR SHORT TO VOLTAGE





For a complete wiring diagram Refer to Section 8W.


  • When Monitored:

    Whenever the ignition is on.

  • Set Condition:

    When the BCM detects a voltage of greater than 4.75 volts on the door lock switch mux input for over 5 seconds, this code will set. The normal voltage on the circuit is between 0.25 and 4.75 volts depending on switch positions. NOTE: Left and right switches are in parallel.


Possible Causes
 
(P37) LEFT DOOR LOCK SWITCH GND WIRE OPEN
 
(P36) LEFT DOOR LOCK SWITCH MUX WIRE OPEN
 
(P36) LEFT DOOR LOCK SWITCH MUX WIRE SHORT TO VOLTAGE
 
(P37) RIGHT DOOR LOCK SWITCH GND WIRE OPEN
 
(P36) RIGHT DOOR LOCK SWITCH MUX WIRE OPEN
 
(P36) RIGHT DOOR LOCK SWITCH MUX WIRE SHORT TO VOLTAGE
 
LEFT DOOR LOCK SWITCH - OPEN
 
LEFT DOOR LOCK SWITCH - SHORTED
 
RIGHT DOOR LOCK SWITCH - OPEN
 
RIGHT DOOR LOCK SWITCH - SHORTED
 
JUNCTION BLOCK OPEN
 
BODY CONTROL MODULE - DOOR LOCK SWITCH MUX OPEN
 




Diagnostic Test

1.CHECK TROUBLE CODE






Does the scan tool display DOOR LOCK SWITCH OPEN OR SHORT TO VOLTAGE?

Yes
  • Go To2


No

2.CHECK DOOR LOCK SWITCH MUX CIRCUIT FOR A SHORT TO VOLTAGE







Which cavity had greater than 0.5 volts?

Cavity 14 - Left Door
  • Go To3


Cavity 10 - Right Door
  • Go To4


Neither circuit over 0.5 volts.
  • Go To5

3.CHECK LEFT DOOR LOCK SWITCH MUX WIRE FOR A SHORT TO VOLTAGE






Is there any voltage present?

Yes


No

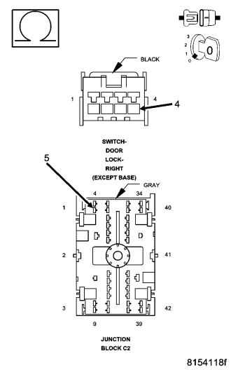
4.CHECK RIGHT DOOR LOCK SWITCH MUX WIRE FOR A SHORT TO VOLTAGE






Is there any voltage present?

Yes


No

5.CHECK DOOR LOCK SWITCH MUX CIRCUIT FOR AN OPEN







Which circuit was NOT between 4500 and 5500 ohms?

Cavities 5 & 10 - Right Door
  • Go To6


Cavities 11 & 14 - Left Door
  • Go To8


Both were approximately 5000 ohms.

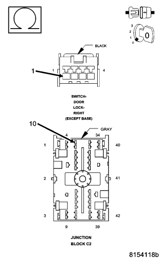
6.CHECK RIGHT DOOR LOCK SWITCH MUX WIRE FOR AN OPEN






Is the resistance below 5.0 ohms?

Yes
  • Go To7


No

7.CHECK RIGHT DOOR LOCK SWITCH GROUND WIRE FOR AN OPEN





Is the resistance below 5.0 ohms?

Yes


No

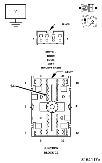
8.CHECK LEFT DOOR LOCK SWITCH MUX WIRE FOR AN OPEN






Is the resistance below 5.0 ohms?

Yes
  • Go To9


No

9.CHECK LEFT DOOR LOCK SWITCH GROUND WIRE FOR AN OPEN





Is the resistance below 5.0 ohms?

Yes


No

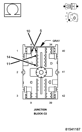
10.CHECK THE JUNCTION BLOCK FOR AN OPEN




NOTE: Make all measurements in the Junction Block – NOT the harness connector.







Is the resistance below 1.0 ohm for each circuit?

Yes


No