ISO FLARING
A preformed metal brake tube is recommended and preferred for all repairs. However, double-wall steel tube can be used for emergency repair when factory replacement parts are not readily available.
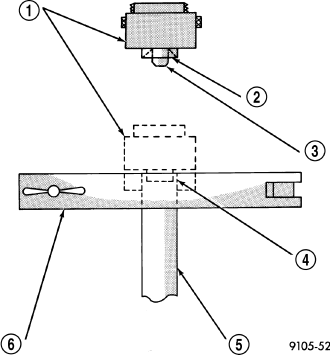
To make a ISO flare use a Flaring Tool kit.
